Küldj egy emailt nekünk

sdepochwater@hotmail.com

Hír

A tolózárak jellemzői és osztályozása

2025-10-31 0 Hagyj üzenetet


A tolózár vagy más néven tolózár egy olyan szelep, amelynek nyitó és záró része egy kapulap, és amelyet egy szelepszár hajt meg, hogy a kapulemezt fel-le mozgassa.


A tolózárak jellemzői


1) A tolózárak előnyei: Alacsony folyadékáramlási ellenállás; A nyitáshoz és záráshoz szükséges nyomaték kicsi. A közeg áramlási iránya korlátlan. Nyitáskor és záráskor nincs vízkalapács jelenség. Az alakszerkezet viszonylag egyszerű, és a gyártási folyamat jobb.


2) A tolózárak hátrányai: Viszonylag nagy külső méreteik és beépítési magasságuk van, és jelentős beépítési helyet igényelnek. A nyitási és zárási folyamat során relatív súrlódás lép fel a tömítőfelületen, ami jelentős kopást eredményez. Még magas hőmérsékleten is hajlamos a karcolásokra. A tolózárak általában két tömítőfelülettel rendelkeznek, ami megnehezíti a feldolgozást, a csiszolást és a karbantartást.


A tolózárak széles körű alkalmazási területtel rendelkeznek. Általában DN50 vagy annál nagyobb névleges átmérőjű vízellátó csővezetékekhez használják.



A tolózárak osztályozása


A tolózárak csatlakozási módok szerint menetes tolózárak, karimás tolózárak és hegesztett tolózárak osztályozhatók. Szerkezeti jellemzők szerint párhuzamos kapulapokra és ékkapulapokra oszthatók. A szelepszár szerkezete alapján különálló szárú (emelőszárú) és rejtett szárú (forgószárú) tolózárakba sorolhatók.




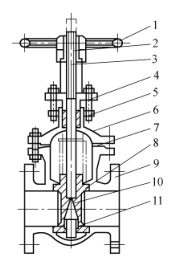
1) Nyitott szárú párhuzamos kettős tolózár: A nyitott szárú párhuzamos kettős tolózár az 1. ábrán látható. Kapuja két szimmetrikus és párhuzamos tárcsából áll. Amikor a kapu leereszkedik, a kapu alján elhelyezett felső ék hatására a két kapu kifelé tágul, és szorosan hozzányomódik a szelepülékhez, így szorosan zárja a szelepet. Amikor a kapu felemelkedik, az ék leválik a tárcsáról. Amint a tárcsa egy bizonyos magasságra felemelkedik, az éket a tárcsa kiemelkedései felemelik, és a kapuval együtt felemelkedik. Ennek a szelepnek egyszerű a felépítése. Tömítőfelületének megmunkálása, csiszolása és karbantartása mind egyszerűbb, mint az ékes tolózáré. A tömítési teljesítménye azonban viszonylag gyenge. 1,0 MPa-t meg nem haladó nyomású és 200 ℃-ot meg nem haladó hőmérsékletű közegekhez alkalmas.



1. ábra: Emelkedő szárú párhuzamos kettős tolózár


1. Kézikerék 2 - szelepszár anya 3 - szelepszár 4 - tömítés 5 - tömítés 6 - szelepfedél

7 - Tömítés 8 - Tömítőgyűrű 9 - Szeleptest 10 - Kapu 11 - Felső ék


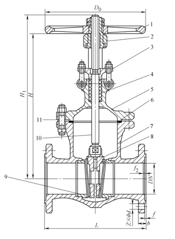
2) Rejtett szárú ékes tolózár: A 2. ábrán látható módon ennek a szelepnek a tömítőfelülete ferde, és szöget alkot. Minél magasabb a középhőmérséklet, annál nagyobb a szög. Az ékkapulapokat egykapusú lemezekre, kettős kapulapokra és rugalmas kapulapokra osztják, amint az a 2a, b és c ábrán látható. Az ékkapu lemezek feldolgozása, csiszolása és karbantartása bonyolultabb, mint a párhuzamos kapulapoké, de jobb a tömítésük.


2. ábra Rejtett szárú ékes tolózár


a) Ék egykapu lemez b) Ék kettős kapulemez c) Ék rugalmas kapulap


1. Kézikerék 2. Kijelző 3. Fedél 4. Tömszelenc 5. Tömítés 6. Szelepfedél

7- Szelepszár 8 - Szelepszár anya 9, 12 - Tömítőgyűrű 10 - Szeleptest 11 - Kapulap 13 - Tömítés


Az elasztikus tolózár a 3. ábrán látható. Előnye az egyszerű felépítés és a megbízható használat, valamint kis rugalmas deformációt tud produkálni, ami növeli a zárás szorosságát.



3. ábra Rugalmas tolózár


1. Kézikerék 2 - szelepszár anya 3 - tömítés 4 - tömítés 5 - szelepfedél 6 - tömítés

7- Szeleptest 8 9-es kapulap - 10-es tömítőgyűrű - 11-es szelepszár - csatlakozócsavar


Emelkedő szárú tolózárnál a szelepszár menete egy kézikerékkel ellátott hüvelyes anyához illeszkedik. A szelepszár alsó végén négyzet alakú fej található, amely a kapulemezbe van beágyazva. A kézikerék forgatásakor a szelepszár és a kapulemez fel-le mozog. Nyitáskor a szelepszár kinyúlik a kézikerékből. Előnye, hogy a szelep nyitási foka a szelepszár megnyújtott hosszából ítélhető meg, és a szelepszár nem érintkezik közvetlenül a szállított közeggel. Hátránya, hogy a szelep nagy nyitási magassággal rendelkezik, és a beépítési helyen elegendő helynek kell lennie ahhoz, hogy a szelepszár kifelé nyúljon. Helyszíni telepítéskor ügyeljen erre a pontra. A rejtett szárú tolózár szelepszárának külső menete illeszkedik a szelepbe ágyazott belső menethez. Ezért a kézikerék forgatásakor a szelepszár forog, aminek következtében a szelep belsejében lévő kapu fel-le mozog, de a szelepszár nem tud fel-le mozogni. A rejtett szárú tolózár kevesebb helyet foglal a szerelés során. A szállított közeg közvetlenül érintkezik a szelepszárral, és a szelep nyitási foka a szelepszáron keresztül nem ítélhető meg. Legyen szó felfutó vagy nem emelkedő szárú tolózárról, a tolózárat vízszintesen kell felszerelni. A szelepszárnak függőlegesen felfelé kell állnia, és nem ferde. Szigorúan tilos a szelepszárat lefelé szerelni.



Kapcsolódó hírek
Hagyj üzenetet
X
Cookie-kat használunk, hogy jobb böngészési élményt kínáljunk, elemezzük a webhely forgalmát és személyre szabjuk a tartalmat. Az oldal használatával Ön elfogadja a cookie-k használatát. Adatvédelmi szabályzat
Elutasít Elfogadás